Klapp-iPad als WegbereiterKommt jetzt das faltbare iPhone?

Faltbare Smartphones sind in der Android-Welt bereits etabliert, doch Apple hat bisher noch kein "iPhone Flip" vorgestellt. Offenbar arbeitet Apple aber daran, wie ein neues Patent vermuten lässt. Bevor es so weit ist, erwartet der bekannteste Apple-Analyst allerdings erst ein faltbares iPad.
Samsung hat im vergangenen August bereits die vierte Generation seiner Klapp- und Falt-Smartphones Galaxy Z Flip und Galaxy Z Fold vorgestellt, Motorola ist auch schon 2019 mit der Neuauflage des Razr eingestiegen, Oppos neues Find N2 Flip startet in Europa mit Preisen um 1000 Euro. Die Technik ist ausgereift, die Preise der Geräte sind nicht mehr höher als bei anderen Top-Smartphones. Also, wann kommt Apple endlich aus dem Knick?
Erst wird ein iPad gefaltet
Nun, offenbar dauert es länger als erwartet. Der treffsichere Analyst Ming-Chi Kuo schrieb im vergangenen Frühjahr, er rechne nicht vor 2025 mit einem faltbaren iPhone. Zuvor war er noch von einem Marktstart eines 8-Zoll-Geräts im kommenden Jahr ausgegangen.
Apple könnte aber trotzdem schon 2024 ein erstes Gerät mit flexiblem Display vorstellen, allerdings kein faltbares iPhone. Kürzlich prognostizierte Kuo, er sei ziemlich sicher, Apple stelle im kommenden Jahr das erste faltbare iPad vor, was ein großer Verkaufsschlager werden könnte. Und ein kleines Detail zu dem kommenden Apple-Falter hat der KGI-Securities-Analyst auch schon parat: Das Gerät soll einen leichten und besonders stabilen Klappständer aus Kohlefaser haben.
"iPhone Flip" könnte irre teuer werden
Aktuell ergebe es für Apple keinen Sinn, ein faltbares iPhone herauszubringen, sagte im vergangenen Oktober CCS-Insight-Analyst Ben Wood in einem CNBC-Interview. Es wäre für das Unternehmen riskant, jetzt so ein Gerät vorzustellen, erklärte er. Vor allem müsste es enorm teuer sein, um die existierenden iPhones nicht zu kannibalisieren. 2500 Dollar schätzt er für die USA, also knapp 900 Dollar mehr als das teuerste iPhone Pro Max. In Deutschland wären das 2700 Euro. Außerdem wäre es ein gefundenes Fressen für Kritiker, wenn Apple mit einem faltbaren iPhone technische Probleme hätte, so Wood.
Tim Cook & Co. hätten aber letztendlich keine Wahl und müssten irgendwann auf den fahrenden Zug aufspringen, ist sich der Analyst sicher. Wie Kuo erwartet er deshalb, dass sich Apple mit einem einfacher zu realisierenden Falt-iPad vortasten wird, um erste Erfahrungen mit der Technologie zu machen.
Besser machen wird immer schwerer
Apple erhöht mit seinem Zögern allerdings auch den Druck auf sich selbst. Denn im Gegensatz zum iPhone oder iPad kommt ein "iPhone Flip" nicht auf einen Markt mit noch nicht ausgereiften Geräten. Es besser als Samsung, Oppo oder Motorola zu machen, wird alles andere als einfach.
Wie ein faltbares iPhone aussehen wird und was es besonders machen könnte, ist noch völlig offen. "Appleinsider" erwartet, dass es sich bis auf die Klapp-Funktion nur wenig von einem normalen iPhone unterscheiden wird. Kritisch sei unter anderem das Scharnier, von dem erwartet werde, dass es ein neuer, innovativer und besserer Mechanismus sei als bei bestehenden Geräten.
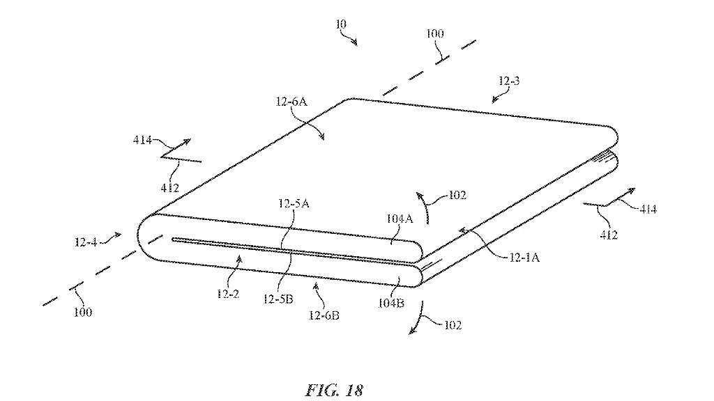
Neues Patent zeigt Apple-Falter ohne Tasten
Als wahrscheinlichster Formfaktor gilt ein Klapp-Smartphone, also ein iPhone, das entlang der Querachse gefaltet wird. Darauf deutet auch ein kürzlich veröffentlichtes Apple-Patent hin. Laut "Macworld" scheinen die Autoren darin ein Gelenk und eine Touch-Steuerung auf den Außenflächen eines faltbaren Geräts zu beschreiben. Allerdings ist nicht klar, ob es sich um ein Smartphone-Patent handelt - es könnte ebenso gut ein Falt-iPad beschreiben. Wie üblich, haben die Patentzeichnungen wenig mit einem realistischen Design gemein.
In dem Patent wird auch beschrieben, wie ein Gerät über berührungsempfindliche Seiten gesteuert werden kann. "CNBC" zufolge könnte es beispielsweise darum gehen, die Lautstärke zu regeln, indem man mit dem Finger nach oben und unten streicht. Das würde dazu passen, dass Kuo davon ausgeht, dass die kommenden iPhone-Pro-Modelle keine physischen Tasten mehr haben werden. Es ist nur logisch, dass ein faltbares iPhone zwei Jahre später auch nur noch Touch-Flächen hat - falls es tatsächlich kommt.