2019 soll's klappen So sehen kommende Falt-Smartphones aus
30.11.2018, 17:54 Uhr
LG verfolgt offenbar einen anderen Ansatz als Samsung.
(Foto: Let's Go Digital)
Im kommenden Jahr wollen fast alle namhaften Smartphone-Hersteller ein faltbares Gerät präsentieren. Patentzeichnungen zeigen, dass dabei unterschiedliche Konzepte zum Einsatz kommen, ein Prinzip aber wohl besonders beliebt ist.
Die Frage, was nach dem Smartphone das nächste große Ding sein wird, ist zumindest für das kommende Jahr wohl beantwortet: faltbare Smartphones. Samsung hat bereits einen Prototypen gezeigt, der chinesische Nobody Royole verkauft mi dem FlexPai sogar schon ein mehr oder weniger funktionierendes Gerät. Weitere Hersteller haben bereits Falt-Smartphones angekündigt, bei anderen gibt es eindeutige Hinweise darauf, dass sie ebenfalls an solchen Geräten arbeiten. Dass dabei sehr unterschiedliche Konzepte umgesetzt werden, zeigen Patentzeichnungen.
Samsung legt vor, LG kontert

Auch Microsofts Patent beschreibt ein Gerät, bei dem je nach Winkel unterschiedliche Oberflächen angezeigt werden.
(Foto: Free Patents Online)
Weil man schon einen Prototypen gesehen hat, weiß man bei Samsungs "Galaxy F" am besten, wie es funktionieren soll. Zusammengeklappt hat der Prototyp auf der Außenseite ein 4,53 Zoll großes Display im 21:9-Format, das mit 1960 x 840 Pixeln auflöst. In dieser Position arbeitet er wie ein normales Smartphone. Im Innern befindet sich der faltbare 7,3-Zoll-Bildschirm mit 2152 x 1536 Pixeln (420 ppi). Öffnet man das Gerät, soll die Anzeige vom Außen- aufs Innen-Display umspringen. Nutzer haben so also im Prinzip ein kompaktes Smartphone in der Tasche, das gleichzeitig ein 7-Zoll-Tablet ist.
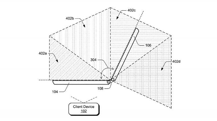
Laut "Let's Go Digital" arbeitet auch Samsungs Erzrivale LG an einem faltbaren Gerät. Erst kürzlich wurde den Südkoreanern in den USA ein entsprechendes Patent gewährt. Den Zeichnungen nach ist das flexible Display des Geräts mehrfach gefaltet. Es bedeckt die Innenseite und läuft um die linke Kante auf die Rückseite, die zusammengeklappt die Vorderseite ist. Der Bildschirm bedeckt hier nur einen breiten Rand der Fläche, weshalb dort vermutlich nur Informationen angezeigt werden.
Offenbar zeigt das Gerät unterschiedliche Benutzeroberflächen, je nachdem, in welchem Winkel es geöffnet ist. Interessant ist auch, dass "Let's Go Digital" schreibt, das Falt-Smartphone könne zwei Kameras haben, die aufgeklappt links und rechts sitzen. Zusammen mit einem Laser-Sensor sollen so 3D-Aufnahmen möglich sein. LG hat sich auch mehrere Markennamen schützen lassen. Das Gerät könnte demnach "Flexi", "Foldi", "Bendi" oder "Duplex" heißen.
Microsoft lässt sich Zeit, Huawei protzt
Das LG-Konzept erinnert stark an Patentzeichnungen die Microsofts geheimnisvolles "Project Andromeda" zeigen. Dass das faltbare Surface nicht zu den Akten gelegt wurde, sieht man unter anderem an neuen Zeichnungen, die die US-Patent-Behörde erst kürzlich veröffentlicht hat. Außerdem hat Microsofts Produkt-Chef Panos Panay Anfang Oktober "The Verge" gesagt, ein "Taschen-Surface" sei genau sein Ding. Microsoft-Insider Brad Sams schreibt auf "Thurrot", eine Veröffentlichung im vierten Quartal 2019 sei möglich. Andromeda werde aber erst präsentiert, wenn es wirklich bereit ist.
Auch Huawei hat für das kommende Jahr ein faltbares Smartphone angekündigt. Laut "Let's Go Digital" könnte es "Mate Flex", Mate Flexi", Mate Fold" oder "Mate F" heißen. Obwohl die Chinesen das Gerät schon beim Mobile World Congress (MWC) Ende Februar erstmals zeigen könnten, ist darüber fast nichts bekannt.
Die südkoreanische "ET News" behauptet aber, Informationen von einer geheimen Veranstaltung zu haben, bei der Huawei Mobilfunkanbietern einen Prototypen gezeigt haben soll, der im Prinzip ebenfalls wie das Galaxy F funktioniert, aber größer ist. Der Übersetzung von "Tom's Guide" nach beherrscht das Gerät bereits 5G und hat ein praktisch randloses 8-Zoll-Display, das vertikal zusammengeklappt werden kann. Der äußere Bildschirm soll 5 Zoll messen. Huawei-CEO Ken Hu sagt, das Gerät schlage Samsungs Galaxy F mit 5G und könne einen PC ersetzen.
Motorola erinnert an Glanzzeiten, Apple wartet ab
Auf jeden Fall wird Oppo beim MWC ein Falt-Handy präsentieren. Der Produktmanager der Chinesen hat dies offiziell angekündigt. Technische Details hat er allerdings nicht genannt, so weiß man auch bei diesem Gerät noch nicht, wie es funktionieren wird. Ähnlich sieht es bei Xiaomi aus. Auch bei diesem chinesischen Hersteller weiß man nur, dass er ein faltbares Gerät vorbereitet, aber nicht welches Konzept er dabei verfolgt.
Zu Motorolas geplanten faltbarem Smartphone ist schon mehr bekannt, weil es ebenfalls schon ein Patent angemeldet hat, das im August gewährt wurde. Den Zeichnungen zufolge möchte Motorola an den Erfolg des legendären Klapp-Handys Razr anknöpfen. So handelt es sich dabei um ein Smartphone, das wie der berühmte Vorläufer in der Mitte zusammengeklappt wird.
Patente belegen auch immer wieder, dass Apple an einem faltbaren iPhone arbeitet. Das jüngste Patent stammt von Mitte Oktober und den Zeichnungen nach könnte das Gerät sogar zweimal gefaltet werden. Allerdings zeigen die verschiedenen Patente immer wieder neue Konzepte, woraus man schließen kann, dass Apple immer noch experimentiert. Man darf erwarten, dass das Unternehmen erstmal abwartet, was die Konkurrenz zu bieten hat und kaum vor 2020 seine Karten auf den Tisch legen wird.
Quelle: ntv.de