Seltsames Foto, neues Patent Ist Microsofts Surface-Phone schon fertig?
27.04.2018, 16:11 Uhr
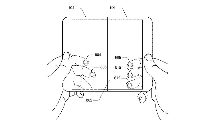
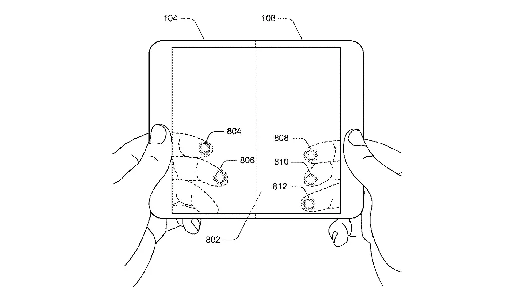
Hier kann man gut die ungefähren Maße des "Surface Phone" sehen.
(Foto: Free Patents Online)
Microsofts Surface-Chef twittert ein Foto, auf dem vor allem interessant ist, was nicht zu sehen ist. Manche glauben, es ist das geheimnisvolle Surface-Phone. Auch neu eingereichte Patente deuten darauf hin.
Microsofts Surface-Chef Panos Panay hat mit einem ansonsten außergewöhnlich langweiligen Fotos auf Instagram große Aufregung verursacht. Denn auf dem Bild seines aufgeräumten Arbeitsplatzes in Microsofts Zentrale in Bellevue hat er einen Bereich auf seinem Schreibtisch unkenntlich gemacht. Jetzt wird heftig spekuliert, um was es sich dabei handeln könnte.
Seine Abteilung wird definitiv schon bald neue Geräte vorstellen. Microsoft-Verantwortliche hätten entsprechende Kommentare bei der Konferenz zum dritten Quartal des Geschäftsjahres gemacht, schreibt "Digital Trends". Unter anderem könnten zu Beginn der Entwicklerkonferenz BUILD am 7. May neue Surface-Laptops und -Tablets gezeigt werden.
Eines dieser Geräte hat Panos Panay aber nicht auf seinem Schreibtisch platziert, dafür ist das verschleierte Etwas zu klein. Hätte er dort etwas Privates wie ein Bild seiner Kinder abgestellt, wäre es einfacher gewesen, dieses wegzunehmen und die Aufnahme zu wiederholen.
Panay erlaubt sich also wohl nur einen Spaß. Vielleicht steckt aber auch mehr dahinter. Viele glauben, dass er vielleicht das geheimnisvolle Surface-Phone auf dem Tisch liegen hat.
Passende Patente
Spätestens nachdem Anfang März eindeutige Patentzeichnungen aufgetaucht sind, gehen die Gerüchteköche davon aus, dass es sich um ein Klapp-Gerät mit zwei Displays handelt. Das würde schon passen. Denn mit schnöden Smartphones ist Microsoft zwar spätestens fertig, seit es bei Windows 10 Mobile im vergangenen Oktober endgültig den Stecker gezogen hat. Das bedeutet aber nicht, dass das Unternehmen keine eigenen mobilen Geräte mehr plant. Es muss nur etwas ganz Neues sein, wie Microsoft-Chef Satya Nadella in einem Interview der Website "Make Me Smart" sagte.
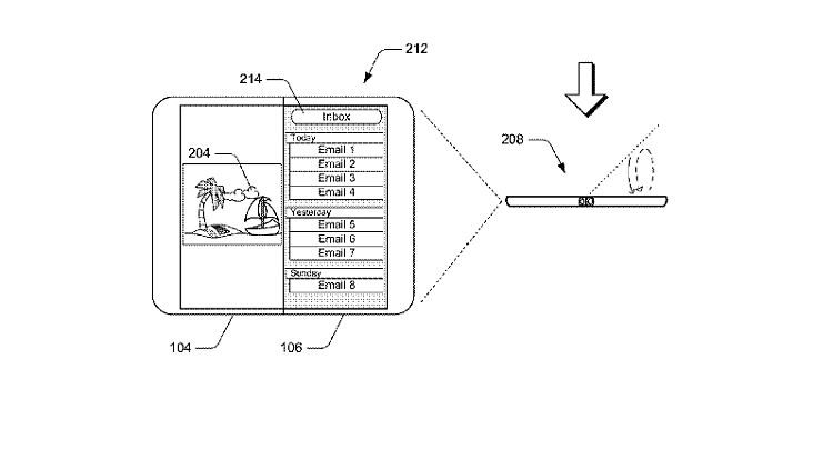
Das ominöse Surface-Phone scheint diese Anforderung erfüllen zu können. Wie es der Zufall so will, wurden praktisch zeitgleich mit Panays Instagram Post zwei neue Patente veröffentlicht, die Microsoft Ende Oktober 2016 und Ende Januar 2017 einreichte. Im ersten wird näher beschrieben, welche wichtige Rolle das in dem früheren Patent gezeigte Scharnier spielt, das die beiden Displays des "Surface-Phone" verbindet.
Wenn man beispielsweise ein Foto über beide Bildschirme hinweg betrachtet, kann man durch eine Klapp-Geste die geteilte Ansicht starten, bei der eines der Displays von einer weiteren App belegt wird. In der Patentzeichnung ist dies das E-Mail-Programm. Durch die Kombination von verschiedenen Winkeln und Klapp-Bewegungen sind eine ganze Reihe weiterer Aktionen möglich.
Das zweite Patent zeigt Wege, um die Anzeige über zwei Displays hinweg möglichst nahtlos erscheinen zu lassen. Microsoft beschreibt unter anderem, wie es erreichen will, dass die Darstellung an den - ähnlich wie bei einem aufgeklappten Buch - gebogenen Innenkannten flach, unverzerrt und gleichmäßig ausgeleuchtet ist.
Quelle: ntv.de, kwe