100 Millionen für US-Firmen Google-Gründer investiert in fliegende Autos
09.06.2016, 17:37 Uhr
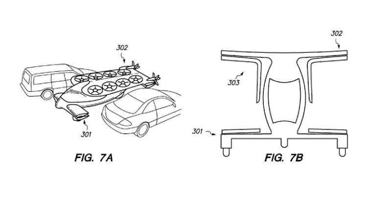
Vor dem Einparken Flügel-Einklappen nicht vergessen!
(Foto: United States Patent and Trademark Office)
Larry Page soll großen Wert darauf gelegt haben, dass niemand von diesen Investitionen erfährt. Doch nun berichtet ein Wirtschaftsmagazin, dass der Google-Mitgründer viel Geld einsetzt, um den alten Traum von fliegenden Auto zu verwirklichen.
Google-Mitgründer Larry Page finanziert laut einem Medienbericht aus eigener Tasche die Entwicklung fliegender Autos. So habe der 43-Jährige seit 2010 mehr als 100 Millionen Dollar in die Firma Zee.Aero gesteckt, die an solchen Fluggeräten arbeite, schrieb das Magazin "Bloomberg Businessweek" unter Berufung auf informierte Personen.
Dabei soll Page besonderen Wert darauf gelegt haben, dass seine Unterstützung geheim bleibt. Außerdem habe er im vergangenen Jahr in eine weitere Firma mit dem Namen Kitty Hawk investiert, die ein anderes Konzept dafür verfolge.
Zee.Aero beschäftige rund 150 Mitarbeiter und teste seine Prototypen auf einem kleinen Flugplatz im Silicon Valley, schrieb "Bloomberg Businessweek" weiter. Die Idee sei ein elektrischer Zweisitzer, der senkrecht - ähnlich wie bei einem Hubschrauber - starten und landen könne. Zee.Aero habe unter anderem frühere Mitarbeiter der US-Raumfahrtagentur Nasa und des Flugzeugbauers Boeing eingestellt.
Mehrere Projekte zu fliegenden Autos
Laut Unterlagen von Kitty Hawk aus dem Jahr 2015 hielt der Chefentwickler der ersten selbstfahrenden Autos von Google, Sebastian Thrun, den Rang eines Präsidenten, hieß es weiter. Kitty Hawk heißt die Stadt, bei der den Gebrüdern Wright 1903 der erste motorisierte Flug gelang.
Page wechselte im vergangenen Jahr vom Chefsessel bei Google an die Spitze der neuen Konzernholding Alphabet. Sein Vermögen wird auf mehr als 35 Milliarden Dollar geschätzt. Weltweit gibt es mehrere Projekte zum Bau fliegender Autos, unter anderem das Aeromobil aus der Slowakei. Andere Unternehmen wie e-volo aus Karlsruhe oder Ehang aus China entwickeln eine Art Riesen-Drohnen, die Menschen befördern können.
Quelle: ntv.de, mbo/AFP