Apple flacht die Klinke ab iPhone 7 könnte viel dünner werden
23.09.2015, 13:37 Uhr
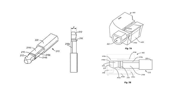
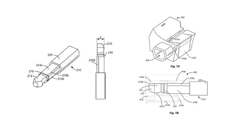
Spart Platz: Apples Patent für einen neuen Kopfhöreranschluss.
(Foto: United States Patent and Trademark Office)
Apple lässt sich einen speziellen Kopfhörer-Stecker patentieren. Mit ihm ist es möglich, iPhones oder iPads zu bauen, die noch viel dünner als die aktuellen Modelle sind. Das Prinzip ist verblüffend einfach.
Wie flach ein Smartphone sein kann, hängt von den Maßen seines größten internen Bauteils ab. Was das bedeutet, ist an den aktuellen iPhone-Modellen zu sehen, deren Kamera auf der Rückseite leicht hervorsteht. Durch die Fortschritte bei der Miniaturisierung dürfte diese Komponente aber schon in naher Zukunft wesentlich kleiner werden. Auch die Gehäuse-Stabilität sollte durch die mit dem iPhone 6s eingeführte 7000er-Aluminium-Legierung kein Hindernis für noch dünnere Geräte sein. Superflachen iPhones steht aber noch ein Bauteil im Weg, das seit Jahrzehnten praktisch unverändert geblieben ist: die Audio-Buchse, die mit 3,5 Millimetern Durchmesser eingebaut wird.
Jetzt hat "Appleinsider" aber ein Patent entdeckt, mit dem Apple das Klinken-Problem auf verblüffend einfache Weise lösen könnte. Es wurde am 22. September ausgestellt und zeigt einen im Prinzip konventionellen vierpoligen Stecker mit Kontakten für den linken und rechten Audio-Kanal sowie Mikrofon und Masse. Apple hat ihn aber auf einer Seite der Länge nach abgeflacht, wodurch der Durchmesser laut "AppleInsider" auf rund 2 Millimeter schrumpft. Die Buchse hat eine entsprechende Form.
Eine so geformte dünne Klinke würde allerdings neue - möglicherweise flexiblere - Materialien voraussetzen. Sonst wäre der Stecker für den Alltag zu bruchempfindlich. Kommt der neue Eingang zum Einsatz, würde dies außerdem bedeuten, dass Kopfhörer mit herkömmlicher Klinke ohne Adapter nicht mehr passen.
6 Millimeter möglich
Vielleicht verwendet Apple den neuen Kopfhörer-Eingang schon beim kommenden iPhone 7. Wie "9to5Google" berichtet, geht unter anderem der renommierte KGI-Securities-Analyst Ming-Chi Kuo davon aus, dass das Gerät mit rund 6 Millimetern ähnlich dünn wie der neue iPod touch werden könnte. Der abgeflachte Stecker wäre allerdings nicht das erste Apple-Patent, das ungenutzt in der Schublade bleibt.
Grundsätzlich ist ein Ziel von Apples Chef-Designer Jonathan Ive, Geräte immer dünner zu machen. Manchmal ist dies aber nicht möglich. So musste Apple das iPad 3 etwas dicker und schwerer machen, um einen Akku unterzubringen, der ausreichend Energie für das damals neue Retina-Display lieferte. Auch das iPhone 6s hat ein höheres Gewicht und eine breitere Taille als sein Vorgänger. Hier ist wahrscheinlich der Platzbedarf der neuen 3D-Touch-Technologie der Grund.
Quelle: ntv.de, kwe