Video

Mitarbeiter lückenlos überwachtStudie stellt Amazon vernichtendes Zeugnis aus
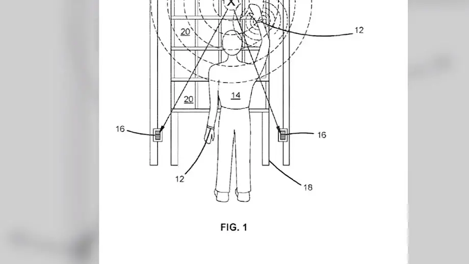
01.09.2020, 14:59 UhrAmazon schwimmt seit Jahren auf einer unglaublichen Erfolgswelle. Aus dem einstigen Buchhändler ist ein mächtiges, globales Unternehmen geworden. Doch der Höhenflug hat seine Schattenseiten. Eine Studie offenbart, wie Amazon plant, die Überwachung seiner Mitarbeiter auszuweiten.
Topvideos