iPhone & Co. gemeinsam auf StromApple stapelt beim induktiven Laden hoch

Apple reicht ein Patent ein, in dem es die Zukunft des induktiven Ladens beschreibt. Seine Geräte sollen sich künftig gegenseitig kabellos mit Strom versorgen können. Die Idee ist genial, aber wohl schwierig umzusetzen.
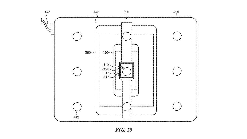
Ein kürzlich veröffentlichtes Patent deutet darauf hin, dass Apple in Sachen induktives Laden noch Großes vorhat. Es beschreibt unter anderem, wie sich Geräte kabellos Energie teilen können. So sieht man auf den Zeichnungen beispielsweise ein iPhone, das zum Laden auf einem iPad liegt. Das soll aber nicht nur mit einem einzelnen Gerät funktionieren. Den Grafiken nach plant Apple auf größeren Geräten wie iPads oder Mac-Computer mindestens drei Induktionsspulen unterzubringen. So können beispielsweise auf einem iPad zwei iPhones und eine Apple Watch gleichzeitig Strom tanken.
Wie die Bremer Stadtmusikanten
Apples Pläne gehen aber offensichtlich noch viel weiter. Auf weiteren Patentzeichnungen liegen nämlich Geräte übereinander. So sieht man Beispiel eine Watch auf einem iPhone liegen, das wiederum auf einem iPad platziert wurde. Eine andere Zeichnung zeigt, wie ein iPad, ein iPhone und eine Watch gestapelt auf einem MacBook liegen, dessen Monitor-Deckel mit insgesamt neun Induktionsspulen versehen ist. Der Laptop ist mit einem Netzteil verbunden - der einzigen nötigen Stromquelle, um alle Apple-Geräte gleichzeitig zu laden.
Die Idee ist genial, aber Apple dürfte noch lange nicht so weit sein, sie umsetzen zu können. Denn die Technik setzt voraus, dass ein Gerät nicht nur induktiv geladen werden kann, sondern auch in der Lage ist, Energie induktiv weiterzugeben. Und das Ganze soll nicht nur zwischen zwei Geräten, sondern mehreren zeitgleich möglich sein.
Schwierige Umsetzung
Wie schwer es alleine ist, beispielsweise zwei iPhones und eine Watch gleichzeitig mit einem Gerät induktiv zu laden, sieht man an Apples Problemen, das AirPower auf den Markt zu bringen. Die Ladematte soll unter anderem eine Herausforderung für die Ingenieure sein, weil sich in ihr mehrere Induktionsspulen befinden, deren Felder sich überlappen.
Apple zeigt mit dem AirPower aber, dass es beim induktiven Laden voranschreiten will. Offenbar ist das Unternehmen mal wieder dabei, eine Technik besser als alle anderen umzusetzen, obwohl es später eingestiegen ist. Das war schon beim MP3-Player so, beim Smartphone oder bei der Gesichtserkennung.