Microsofts Geheimprojekt Patentzeichnungen zeigen "Surface Phone"
02.03.2018, 17:32 Uhr
(Foto: Freepatentsonline)
Microsoft reicht ein Patent ein, das Zeichnungen eines klappbaren Geräts mit zwei Bildschirmen zeigt. Offenbar handelt es sich dabei um das geheimnisvolle "Surface Phone". Die Grafiken zeigen, was seine größte Herausforderung ist.
Schon seit Monaten, ja sogar Jahren gibt es Gerüchte, Microsoft entwickle ein "Surface Phone" unter dem Codenamen "Andromeda". Wie dieses Gerät genau aussehen und was seinen Funktionen sein könnten, wurde wild spekuliert. Klar schien lediglich zu sein, dass es kein herkömmliches Smartphone sein würde. Microsoft-Chef Satya Nadella sagte im vergangenen Mai in einem Interview der Website "Make Me Smart", man suche nach einer völlig neuen Kategorie.

Die Konstruktion würde zu Microsofts deutschem Chefdesigner Ralf Groene passen, der auch für das Gelenk des Surface Book verantwortlich ist.
(Foto: Freepatentsonline)
In jüngster Zeit verdichtete sich der Verdacht, es könne sich dabei um ein Klapp-Gerät mit zwei Displays handeln. Ein jetzt veröffentlichtes Microsoft-Patent scheint diese Vermutung zu bestätigen, die darin enthaltenen Zeichnungen verraten viel, vor allem über die Konstruktionsweise.
Tatsächlich scheint das "Surface Phone" zwei etwa 7 Zoll große Displays zu haben, auf denen gemeinsame oder geteilte Inhalte angezeigt werden können. Eine Zeichnung zeigt beispielsweise einen Tablet-Modus, eine andere einen Laptop-Modus, in dem auf einem Bildschirm eine virtuelle Tastatur angezeigt wird.
Raffiniertes Gelenk
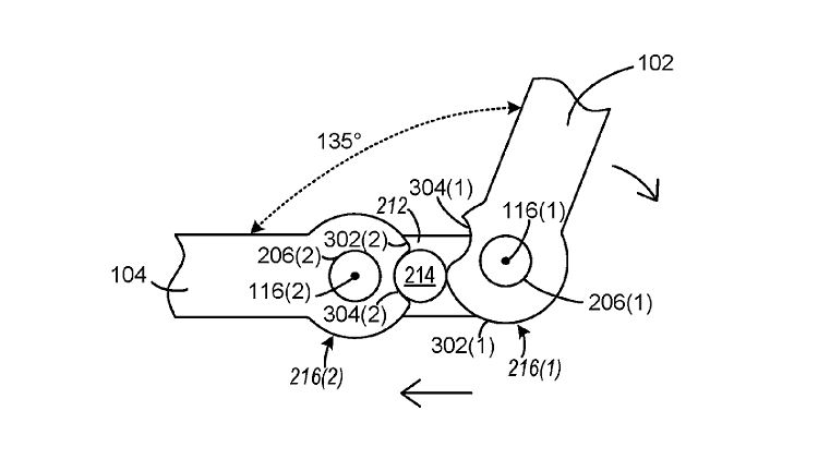
In dem Patent geht es aber speziell um das Gelenk, das die beiden Panels raffiniert verbindet. Beide Displays haben zylinderförmige Halterungen, die elastisch gehalten an einer Achse abrollen und jeweils eine Nut haben, die sie in einer bestimmten Position arretieren. So sind stabile Positionen zusammengeklappt, aufgeklappt, umgeklappt und bei einem Winkel von 135 Grad möglich.
"MSPoweruser" betont, dass Microsoft das Patent am 21. September vergangenen Jahres eingereicht hat. Die Wahrscheinlichkeit, dass das Projekt noch am Leben ist, ist also doch ziemlich hoch. Auf dem "Surface Phone" werde voraussichtlich Windows 10 mit CShell laufen, schreibt das Blog. Das ist eine neue Benutzeroberfläche, die sich wesentlich flexibler an verschiedene Displaygrößen anpassen kann als dies aktuell bei Microsofts Betriebssystem möglich ist. Auch CShell ist noch in der Entwicklung, man sollte daher nicht schon bald die Premiere des "Surface Phone" erwarten - wenn es überhaupt jemals erscheint.
Quelle: ntv.de, kwe