Der Tag

Eingezwängt soll bequemer sein Boeing patentiert Economy-Schlafsitz

sitz2.PNG

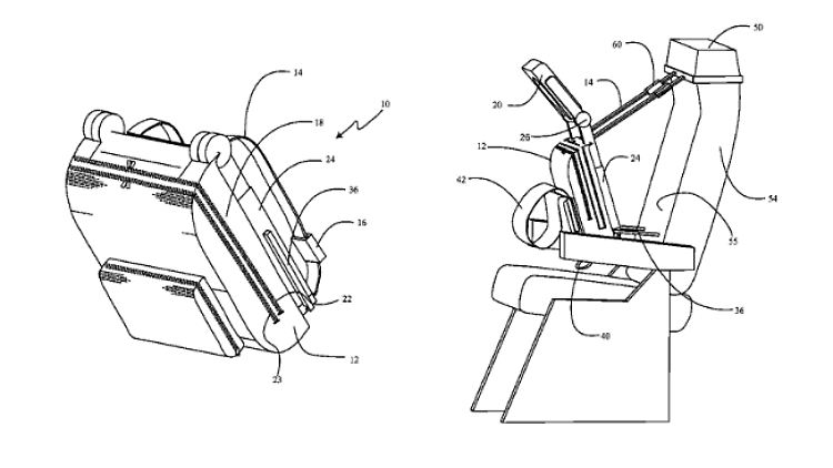
Die Economy Class im Flugzeug ist zum Schlafen bisher kaum geeignet. In jeder möglichen Position schmerzt mindestens ein Körperteil. Flugzeugbauer würden das gern ändern, aber die nächstliegende Möglichkeit kommt dabei auf keinen Fall infrage: den Passagieren mehr Platz einzuräumen. Nun hat Boeing ein Patent angemeldet für das "Aufrecht-Schlafsystem", das dieses Problem lösen soll. Eine Art Rucksack wird vor die Brust und ein Kissen vor den Kopf geschnallt. Vornüber hängend eingezwängt lässt es sich angeblich bequem schlafen. Testberichte liegen freilich noch nicht vor.

Quelle: ntv.de

Newsletter
Ich möchte gerne Nachrichten und redaktionelle Artikel von der n-tv Nachrichtenfernsehen GmbH per E-Mail erhalten.
Nicht mehr anzeigen