Blamable Luftnummer Warum Apple mit AirPower scheiterte
01.04.2019, 12:28 Uhr
Anspruch und Realität klafften bei Apples Airpower offenbar zu weit auseinander.
(Foto: Apple)
Immer wieder verschiebt Apple seine Ladematte AirPower und beerdigt das Gerät dann kurz vor dem geplanten Marktstart endgültig. Experten wundern sich darüber nicht, das scheinbar einfache Projekt war wahrscheinlich viel komplizierter als von Apples Ingenieuren gedacht.
Das iPhone X und das iPhone-8-Duo waren im September 2017 Apples erste Smartphones, die kabellos geladen werden konnten. Damit war das Unternehmen spät dran, induktives Laden war zu diesem Zeitpunkt bei der Android-Konkurrenz fast schon eine Selbstverständlichkeit. Doch Apple wollte auch diesmal wieder alles besser machen zu können als die anderen. Das sollte unter anderem die Ladematte AirPower beweisen, auf der drei Geräte gleichzeitig Strom tanken können sollten. Doch dazu kam es nie, am vergangenen Freitag stampfte Apple das Projekt endgültig ein. Wie kam es zu dieser blamablen Luftnummer?

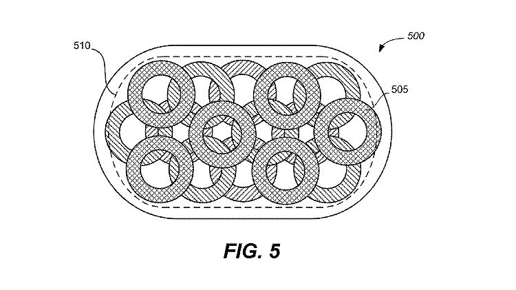
Ein Patent zeigt, dass Apples Ingenieure wirklich sehr viele Spulen unterbringen wollten.
(Foto: USPTO)
Offiziell teilte Apple mit, trotz aller Anstrengungen habe man erkennen müssen, dass AirPower die hohen Standards des Unternehmens nicht erreichen werde. Das ist ein Grund, aber keine Erklärung. Die Reparaturspezialisten von iFixit vermuten, dass Apple zu ehrgeizig war und letztendlich einsehen musste, dass einfache Technik wahnsinnig kompliziert werden kann, wenn man zu viel will. AirPower sollte die perfekte Ladematte werden und scheiterte wohl genau deswegen kläglich.
Viel hilft nicht immer viel
Im Prinzip ist induktives Laden simpel. In der Matte fließt Strom durch eine Drahtspule, wodurch ein Magnetfeld entsteht, das wiederum Strom in der Drahtspule des Empfängers erzeugt. Herkömmliche induktive Ladematten haben gewöhnlich eine Spule pro Gerät, das auf ihnen Platz findet. Manchmal gibt es aber auch zusätzliche Spulen, beispielsweise bei Matten, bei denen zwei Smartphones nebeneinander hochkant Strom tanken können oder ein einzelnes Gerät quer gelegt geladen wird.
Damit Strom fließt, muss die Spule eines Smartphones direkt über einer Spule der Matte liegen. Deshalb muss man Geräte oft etwas hin- und herschieben, bis die Ladeanzeige anspringt. Das war Apple allerdings zu kompliziert, Nutzer sollten Geräte einfach irgendwo auf dem AirPower ablegen können. Dazu mussten in der Matte allerdings viele Spulen verteilt werden, was die eigentlich einfache Induktion unglaublich kompliziert machte.
Störfrequenzen und Hitze
Denn durch die hohe Anzahl und die enge Anordnung der Spulen ergeben sich gravierende Probleme, die Apple offenbar nicht in den Griff bekam. Ein von iFixit interviewter Ingenieur vermutet, dass durch die überlappenden Magnetfelder starke Störfrequenzen erzeugt wurden, die eine Zulassung der zuständigen US-Behörde FCC oder von EU-Behörden möglicherweise verhindert haben. Dass Apple dies erst jetzt merkte, nachdem AirPower sogar schon auf der Box der Airpods 2 abgebildet war, erstaunt den Experten nicht. Apples Ingenieure hätten sich wahrscheinlich darauf konzentriert, dass die Ladematte funktioniert und bis zum Schluss nicht die elektromagnetischen Interferenzen im Blick gehabt.
Ein weiteres Problem könnte Überhitzung gewesen sein. Denn Induktionsspulen haben keinen besonders hohen Wirkungsgrad und ein Großteils des Stroms wird in Wärme umgewandelt. Das macht es sehr schwierig, viele Spulen auf engem Raum unterzubringen, die einen hohen Ladestrom liefern sollen. Vielleicht musste Apple die Leistung so weit reduzieren, dass AirPower zum Aipowerchen wurde, was Apples hohen Ansprüchen wirklich nicht gerecht geworden wäre.
Quelle: ntv.de, kwe